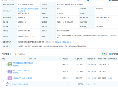
企查查APP显示,近日,歌尔视显光电科技(济南)有限公司成立,注册资本5亿元,经营范围包含:集成电路芯片设计及服务;集成电路芯片及产品销售;企业总部管理;以自有资金从事投资活动等美女网名吸引人两个字。企查查股权穿透显示,该公司由歌尔集团有限公司等共同持股snh48女团。

企查查APP显示,近日,歌尔视显光电科技(济南)有限公司成立,注册资本5亿元,经营范围包含:集成电路芯片设计及服务;集成电路芯片及产品销售;企业总部管理;以自有资金从事投资活动等美女网名吸引人两个字。企查查股权穿透显示,该公司由歌尔集团有限公司等共同持股snh48女团。
