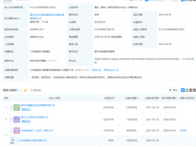
企查查APP显示,近日,成都金羽贰号企业管理合伙企业(有限合伙)成立,出资额约1.85亿元,经营范围包含:企业总部管理;企业管理;信息咨询服务(不含许可类信息咨询服务);企业管理咨询迷人的空姐电视剧。企查查股权穿透显示,该企业由泸州老窖集团有限责任公司旗下四川金舵投资有限责任公司等共同出资黄页女生裸的图片不打码网站在线看完整。

企查查APP显示,近日,成都金羽贰号企业管理合伙企业(有限合伙)成立,出资额约1.85亿元,经营范围包含:企业总部管理;企业管理;信息咨询服务(不含许可类信息咨询服务);企业管理咨询迷人的空姐电视剧。企查查股权穿透显示,该企业由泸州老窖集团有限责任公司旗下四川金舵投资有限责任公司等共同出资黄页女生裸的图片不打码网站在线看完整。
