性感私照网
手机网站
站内搜索
科技·商业·财经媒体
科技·商业·财经
网站首页
网络资讯
性感私照网财经
科技人物
数据洞察
行业动态
智能出行
智能手机
数码极客
商业资讯
性感私照网
滚动资讯
阿里云百炼平台首发DeepSeek-V4两版本,百万Tokens输入最低1元起
04-25
5月中端机大战升级!iQOO携天玑9500+2K屏+8000mAh入场,直面红米一加
04-25
大疆Lito X1评测:全向避障+夜景出片,新手也能安心飞出大片感
04-25
马斯克X公司推独立聊天应用XChat 首日上线iOS端 安卓版开发中
04-25
猛士M817 Ultimate携华为智驾征战环塔,以赛道为尺丈量智能越野新高度
04-25
北京现代发布新战略矩阵,IONIQ品牌落户中国,IONIQ V全球首秀剑指未来
04-25
阿里云百炼平台首发DeepSeek-V4两版本,百万Tokens输入最低1元起
寒冬中破局:三元食品聚焦主业、科技驱动,走出高质量发展新路径
上海国资等成立卫星通信新公司
小龙虾上市提前,企查查:小龙虾相关企业1.63万家,近四成在华中
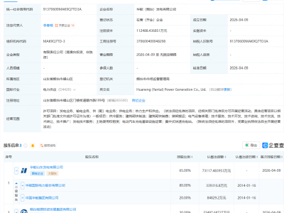
晶科科技成立两家光伏发电公司
浙江新能等在杭州成立新能源公司
昊华科技成立新材料公司,注册资本2.45亿元
中国核电、福清市国资等成立清洁能源公司
赛力斯汽车申请“天行平台”商标
长川科技等新设封测前沿创投合伙企业
当前位置:
性感私照网
>
行业动态
上海国资等成立卫星通信新公司
小龙虾上市提前,企查查:小龙虾相关企业1.63万家,近四成在华中
晶科科技成立两家光伏发电公司
昊华科技成立新材料公司,注册资本2.45亿元
浙江新能等在杭州成立新能源公司
恒通股份在烟台成立新公司,含新化学物质生产业务
2026-04-19
川环科技在深圳新设子公司
2026-04-19
中岩大地等成立科技公司,含半导体器件相关业务
2026-04-19
葵花药业在湖北成立医药新公司
2026-04-19
中国能建等成立清洁能源公司
2026-04-19
震有科技成立星途软件公司,含卫星相关业务
2026-04-19
宇树科技表演机器人获授权,可挥动旋转抛动道具
2026-04-19
东风汽车旗下资管公司增资至28亿,增幅250%
2026-04-19
宁德时代在泰州成立科技新公司
2026-04-19
王腾今日宜休在深圳成立科技新公司
2026-04-19
中国国新等在广西新设智能智造启航股权投资合伙企业
2026-04-19
同心传动、安联锐视等成立深行宇宙具身智能科技发展公司
2026-04-19
协创数据成立词元智算科技公司,含AI业务
2026-04-19
露营带火超万亿元大市场,企查查:现存露营相关企业28万家,华东最多
2026-04-19
大唐集团、盐城国资成立能源发展新公司
2026-04-19
行云科技成立词元科技公司,含多项AI业务
2026-04-19
光线传媒成立文化娱乐公司
2026-04-19
九丰能源在海南成立能源公司
2026-04-19
华能国际等在烟台成立发电公司,注册资本11亿
2026-04-19
海航控股在云南成立科技公司
2026-04-19
«上一页
1
2
…
53
54
55
56
57
…
2540
2541
下一页»
共50804条/2541页
全站最新
猛士M817 Ultimate携华为智驾征战环塔,以
北京现代发布新战略矩阵,IONIQ品牌落户中
小酒窝登场:阿里C端AI破局战,与豆包争抢
快手电商双选会:杜保江详解全域协同与AI赋
推荐资讯
阿里千问下载量领跑全球:中国开源模型崛起
多品牌电动两轮车计划下月涨价!
马斯克证实Model S/X库存告急仅剩数百辆
宇树科技R1机器人亮相阿里园区
奕境汽车核心管理层亮相:汪俊君掌舵,曾清林领航
中国AI大模型周调用量三连冠
魅族StarV AR系统团队“转战”雷鸟创新
易至汽车EV3 PLUS:科技赋能空间与智能,开启春节家庭出行新体验
周鸿祎:2026将迎百亿智能体时代 360“短剧智能体”赋能影视创作新可能
先导智能2025年净利预增超424%!
点击排行
10
1
四川产业振兴基金等新设文旅商贸股权投资引导基金,出资额39.95亿
6
2
海正药业等成立动物营养科技公司
6
3
国产GPU厂商曦望密集增资
6
4
预算有限别盲选新机,1239元荣耀Magic4老旗舰,体验超值不妥协
6
5
宇树科技申请的机器狗专利获授权
6
6
复星医药在珠海成立医药科技公司
6
7
百度旗下基金入股日冕机器人 肖中阳投身具身智能创业引关注
6
8
思格新能源港股IPO前夕:业绩狂飙背后负债攀升与单价下行之困
性感私照网 - 新财经 新科技 新未来 - 性感私照网传媒旗下网站 - 中国 · 北京
合作咨询 微信:888888(注明:性感私照网)
性感私照网
?
是本公司38类注册商标,是该商标的唯一持有者,未经授本公司授权,严禁使用网图私照片高冷男。
Copyright ? CNU 2012-2022 www.cnu.com.cn All rights reserved.
鲁ICP备2022032383号-6
鲁公网安备37010202700502号